华泰联合、中信证券拿下第一名,8月券商排名出炉

2023-09-04

图片


一、券商排名



2023年8月,国内A股市场共完成IPO、上市公司再融资和并购募集配套资金融资102单,募集资金金额合计1318.08亿元,其中华泰联合保荐11家,中信证券主承销238.62亿元,家数、金额分别位居首位。8月A股市场仅完成上市公司重大资产重组2单,交易金额为121.81亿元,创下近期新低。但随着证监会“深化并购重组市场化改革”的表态,并购重组子市场有望进一步活跃。


从已有的发行审核情况来看,2023年8月通过科创板上市委、创业板上市委、重组委审核73家,被否1家,暂缓表决2家,审核通过率为96.05%,与上月基本持平。根据8月已完成的项目计算,券商排名如下:


IPO

按已完成发行上市家数计算,8月份共22家保荐机构完成了33家公司的IPO发行上市工作,其中,中信建投保荐3家,家数排名第一,中信证券主承销88.54亿元,金额位居第一。


8月券商IPO家数、主承销金额排名

图片

图片

图片

      


上市公司再融资


按已完成发行上市家数计算,8月份合计28家保荐机构完成了68家上市公司的股权再融资项目,其中中信证券华泰联合均完成7家,并列第一;招商证券中信建投分别以3家位列第2位。8月份共有29家券商参与了主承销工作,其中中信证券以主承销150.08亿元金额名列前茅,中金公司国泰君安分别以71.31亿元和70.08亿元分别位居第2、3位。


8月上市公司再融资券商保荐家数排名

图片

图片

图片

图片



7月上市公司再融资券商主承销金额排名

图片

图片

图片


上市公司重大资产重组


按标的资产过户和交易对象发行股份购买资产所持的股份完成登记过户计算,8月合计2家券商完成2家上市公司重大资产重组独立财务顾问项目。


8月国内上市公司已完成重大资产重组独立财务顾问排名

图片

注1:联合独立财务顾问按1/N计算。


二、IPO市场



▌ 已完成


2023年8月,国内A股IPO市场完成上市33家,募集资金金额合计575.86亿元。其中,融资家数最多的是创业板,共有21家,融资金额最多的是科创板,募集资金金额为287.82亿元,平均募集资金金额分别为41.12亿元;


8月国内A股IPO市场上市公司板块分布情况

图片


33家公司IPO募集资金金额平均值为17.45亿元,其中,募集资金金额最大的为东方投行国开证券、国泰君安、海通证券、中金公司、中信证券主承销的华虹公司,募集资金金额为212.03亿元;募集资金金额最小的为国金证券主承销的博迅生物,募集资金金额仅为0.73亿元。具体排名如下:   


8月国内A股IPO资募集资金金额前五位排名

图片



▌ 证监会发审会/重组委审核


2023年8月,国内A股IPO市场通过发审会(上交所上市委、深交所上市委、北交所上市委)审核28家,2家暂缓审议(中金公司保荐的并行科技,东方投行保荐的无锡晶海)。审核通过率为93.33%


8月国内A股上市公司各板块审核通过率


图片


 新增在会审核


2023年8月,国内A股市场新增提交IPO审核的拟上市公司2家,计划募集资金金额合计6.24亿元。具体情况如下:


8月新增在会审核IPO计划募集资金金额排名

图片


▌ 地方证监局上市辅导


根据各地方证监局已披露的上市辅导情况表,2023年8月,拟上市公司在地方证监局新增上市辅导44家,根据上市辅导企业注册地统计江苏省北京市6家拟上市辅导企业并列第一。


全国省(直辖市)新增上市辅导公司家数分布

图片


三、上市公司再融资



▌ 已完成


2023年8月,上市公司股权再融资市场已完成发行68家、募集资金金额合计727.22亿元。从融资方式来看,融资家数最多的是非公开发行,家数是38家募集资金金额最多的是非公开发行,募集资金金额376.44亿元。


8月国内A股上市公司股权再融资市场融资方式分布情况

图片

68家上市公司募集资金金额平均值为10.69亿元,其中,募集资金金额最大的为中信证券承销的晶澳科技,募集资金金额为89.60亿元;募集资金金额最小的为广发证券主承销的奥来德,募集资金金额仅为0.91亿元。具体排名如下:

8月上市公司再融资募集资金金额前三位排名

图片


▌ 证监会发审会/重组委审核


2023年8月,国内A股再融资市场通过交易所(创业板上市委、科创板上市委)审核43家,1家未通过,审核通过率为97.67%(审核通过率=通过家数/提交审核家数)。


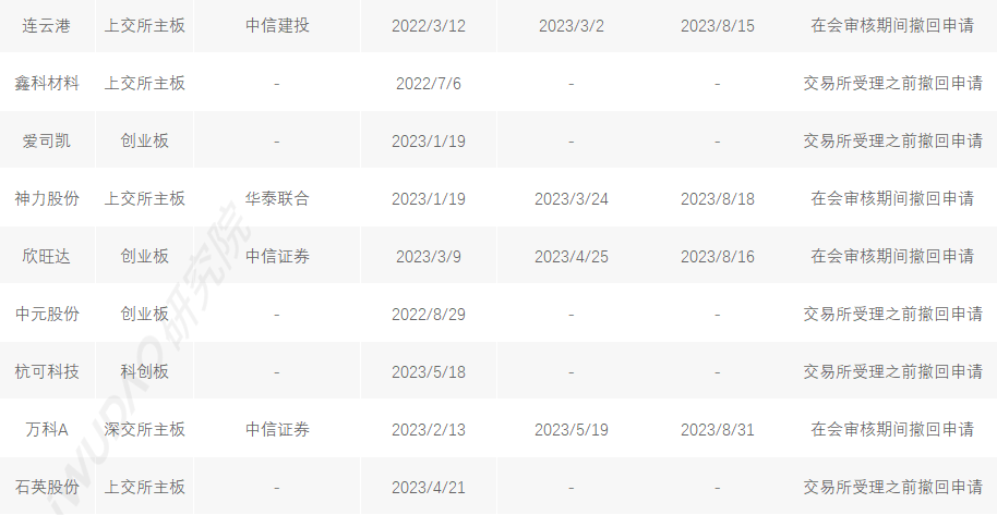
2023年8月,国内A股市场撤回股权再融资申请19家,具体如下:


8月上市公司股权再融资市场终止撤回申请情况

图片

图片

图片



注:计划募集资金金额用最新披露的股权再融资预案数据/撤回原因分为:通过发审会但超过核准文件有效期/通过发审会但主动申请终止/发行审核期间撤回申请/证监会受理之前撤回申请


▌ 新增在会审核


2023年8月,国内A股股权再融资市场新增在会审核项目62单,计划募集资金金额合计835.73亿元。从融资方式来看,融资家数最多的是非公开发行,家数45家;募集资金金额最多的是非公开发行,募集资金金额637.67亿元。


8月在会审核上市公司再融资方式分布情况


图片

62家上市公司计划募集资金金额平均值为13.48亿元,其中,计划募集资金金额最大的为广发证券承销的中国石化,募集资金金额均为120.00亿元;计划募集资金金额最小的为东吴证券主承销的挖金客,募集资金金额仅为0.78亿元。具体排名如下:


8月在会审核上市公司再融资计划募集资金金额前十名情况

图片

图片



▌ 已披露再融资预案


2023年8月,上市公司披露股权再融资预案47单(首次披露),计划募集资金规模531.08亿元。从融资方式来看,融资家数最多的是非公开发行,家数34家;计划募集资金金额最多的的是非公开发行,预计募集资金金额426.16亿元。


8月已披露预案上市公司再融资方式分布情况

图片

47家上市公司计划募集资金金额平均值为11.30亿元,其中,计划募集资金金额最大的为晶科能源,募集资金金额为97亿元;计划募集资金金额最小的为同辉信息,募集资金金额仅为1.28亿元。具体排名如下:

8月已披露预案上市公司再融资计划募集资金金额前三位排名

图片


四、上市公司重大资产重组



▌ 已完成


按标的资产过户和交易对象发行股份购买资产所持的股份完成登记过户为交易完成的计算依据,2023年8月已完成上市公司重大资产重组2家,涉及交易金额合计121.81亿元,募集配套资金涉及交易金额合计15.00亿元。


从交易金额来看,最高为上市公司创新新材收购创新金属100%股权交易金额为114.82亿元;交易金额最低为上市公司中润资源收购新金公司51%股权、马维钛业承接中润资源应付济南兴瑞的3,757.72万元债务,交易金额为6.99亿元。


8月国内上市公司已完成重大资产重组交易金额排名

图片
注:交易类型指现金支付/资产置换、发行股份购买资产、发行定向可转债购买资产、上市公司合并和分立。


▌ 证监会发审会/重组委审核


2023年8月,国内A股上市公司重大资产重组通过重组委审核2家,未通过0家,审核通过率100%(审核通过率=重组委通过家数/提交重组委审核家数)。


8月国内上市公司过会重大资产重组交易金额排名

图片


注:交易类型指现金支付/资产置换、发行股份购买资产、发行定向可转债购买资产、上市公司合并和分立。


▌ 新增在会审核


2023年8月,交易所新增已受理的上市公司发行股份购买资产等项目合计3单,上市公司重大资产重组的交易金额合计139.15亿元。


从交易金额来看,最高为上市公司路畅科技收购中联高机100%股权交易金额为94.24亿元;交易金额最低为上市公司军信股份收购仁和环境63%股权,交易金额为21.97亿元。


8月在会审核上市公司重大资产重组交易金额前三位排名

图片


注:交易类型指现金支付/资产置换、发行股份购买资产、发行定向可转债购买资产、上市公司合并和分立。


▌ 已披露重组草案


2023年8月,上市公司披露重大资产重组预案/草案4单(首次披露)。

8月上市公司重大资产重组项目

图片